สรุปท้ายทบที่ 2
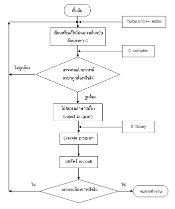
หลักการเขียนโปรแกรมภาษาc ประกอบด้วย
1.สร้างโปรแกรม
2.คอมไพล์โปรแกรม
3.เชื่อมโยงโปรแกรม
4.รันโปรแกรม
:อินเตอร์พรีเตอร์: เป็นตัวแปลภาษาที่จะแปลโปรแกรมแบบทีละคำสั่งพร้อมกับรันโปรแกรมไปในขณะเดียวกัน หากไม่พบข้อผิดใดๆ ก็จะนำคำสั่งถัดไปมาแปลและรันต่อไปเรื่อยๆจนกระทั่งจบโปรแกรม หรือถ้าหากเกิดข้อผิดพลาด โปรแกรมก็จะหยุดทำงานทันที แล้วจะแจ้งข่าวสารข้อผิดพลาดให้ทราบทางจอภาพ

:คอมไพเลอร์: เป็นตัวแปลภาษาที่จะแปลแบบทั้งโปรแกรม หากแปลแล้วพบข้อผิดพลาด โปรแกรมจะไม่สามารถรันได้ต้องกลับไปแก้ไขโปรแกรมให้ถูกต้อง แล้วคอมไพล์ใหม่จนกระทั่งไม่พบข้อผิดพลาดใดๆ
Turbo c++ เวอร์ชั่น 4.5 เป็นโปรแกรมที่รวมเอดิเตอร์และคอมไพเลอร์ไว้ในตัวเดียวกันสามารถติดตั้งเพื่อใช้งานในระบบปฏิบัติการ Windows ได้ นอกจากนี้ตัวโปแกรมยังมีขนาดเล็ก ทำงานรวดเร็ว และมีประสิทธิภาพเหมาะกับการนำมาใช้งานเพื่อฝึกหัดเขียนโปรแกรมได้เป็นอย่างดีเนื่องจากติดตั้งง่าย ใช้งานสะดวกสามารถหาดาวน์โหลดมาใช้งานได้จากอินเตอร์เน็ต
:ชนิดของข้อผิดพลาด: ที่เกี่ยวกับงานเขียนโปรแกรม ประกอบด้วย
1.ข้อผิดพลาดที่เกิดจากไวยากรณ์
2.ข้อผิดพลาดที่เกิดจากตรรกะโปรแกรม
3.ข้อผิดพลาดในขณะรันโปรแกรม
ไม่มีความคิดเห็น:
แสดงความคิดเห็น